Как работает экскаватор

Как работает экскаватор. Экскаватор описание. Как работает экскаватор. Как работает экскаватор. Экскаватор бульдозер.
Как работает экскаватор. Экскаватор описание. Как работает экскаватор. Как работает экскаватор. Экскаватор бульдозер.
Экскаватор гидропривод управления ковшом схема. Гидравлическую схема одноковшового экскаватора. Устройство рабочего оборудования открытое. Lg777. Экскаватором эо-4121 с ковшом, «обратная лопата».
Экскаватор гидропривод управления ковшом схема. Гидравлическую схема одноковшового экскаватора. Устройство рабочего оборудования открытое. Lg777. Экскаватором эо-4121 с ковшом, «обратная лопата».
Схема одноковшового экскаватора с гидравлическим приводом. Гидравлическая схема гусеничного одноковшового экскаватора. Экскаватор гидропривод управления ковшом схема. Одноковшовый погрузчик диггер картинки. Как работает экскаватор.
Схема одноковшового экскаватора с гидравлическим приводом. Гидравлическая схема гусеничного одноковшового экскаватора. Экскаватор гидропривод управления ковшом схема. Одноковшовый погрузчик диггер картинки. Как работает экскаватор.
Внимание работает экскаватор. Эо 5123 одноковшовый экскаватор. Как работает экскаватор. Экскаватор с гидроножницами чертеж. Полноповоротный гидравлический экскаватор схема.
Внимание работает экскаватор. Эо 5123 одноковшовый экскаватор. Как работает экскаватор. Экскаватор с гидроножницами чертеж. Полноповоротный гидравлический экскаватор схема.
Схема одноковшового экскаватора с гидравлическим приводом. Устройство экскаватора гидравлического на гусеничном ходу. Экскаватор с гидромолотом схема. Экскаватор эо-3123 схема. Схема гидропривода одноковшового экскаватора.
Схема одноковшового экскаватора с гидравлическим приводом. Устройство экскаватора гидравлического на гусеничном ходу. Экскаватор с гидромолотом схема. Экскаватор эо-3123 схема. Схема гидропривода одноковшового экскаватора.
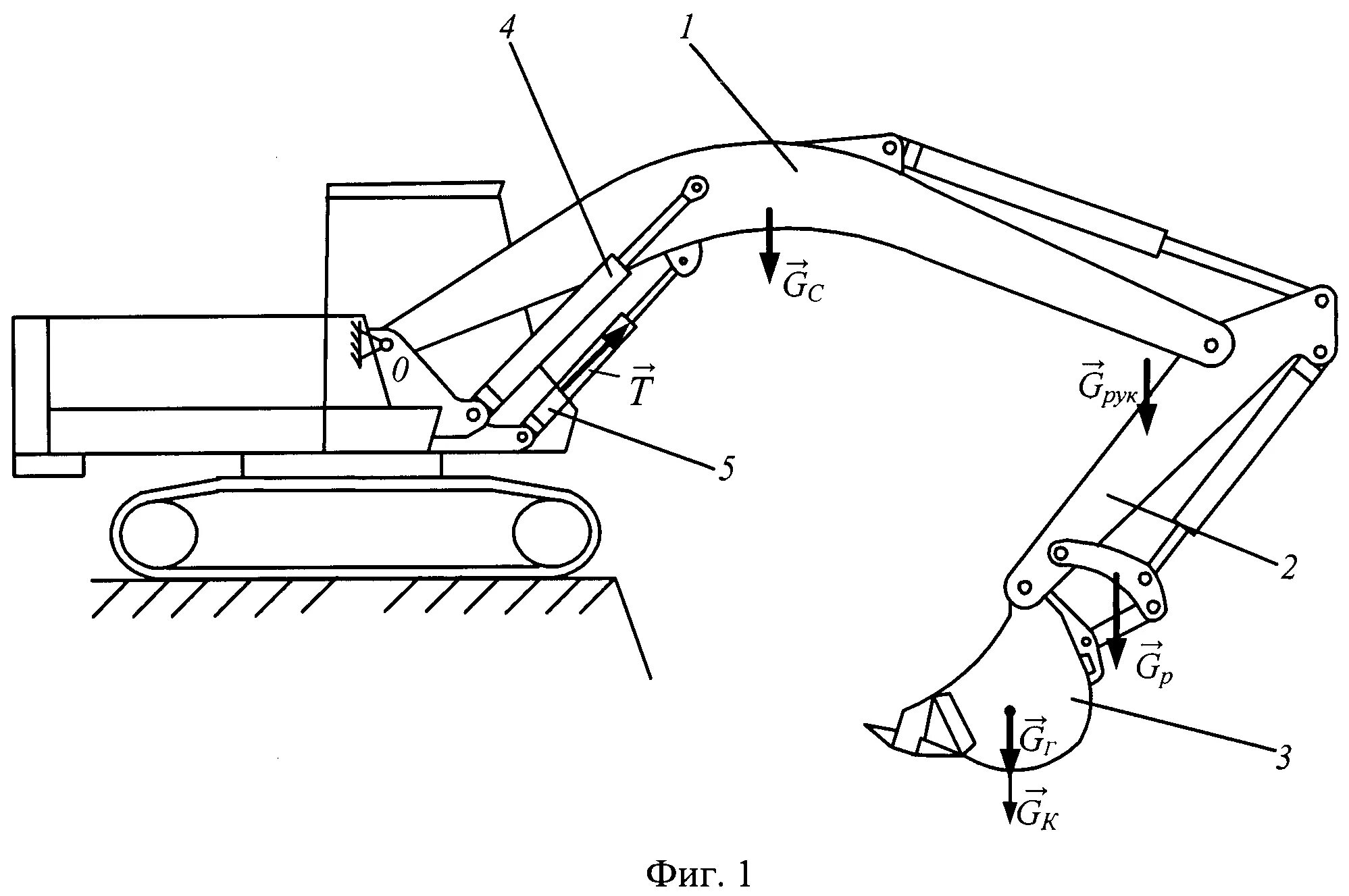
Устройство экскаватора. Одноковшовый экскаватор схема. Принципиальная схема экскаватора с гидравлическим приводом. Гидравлическая схема гусеничного одноковшового экскаватора. Как работает экскаватор.
Устройство экскаватора. Одноковшовый экскаватор схема. Принципиальная схема экскаватора с гидравлическим приводом. Гидравлическая схема гусеничного одноковшового экскаватора. Как работает экскаватор.
Гидравлическая схема экскаватора. Поворотный гидравлический узел экскаватора. Электрическая схема одноковшовых экскаваторов. Конструкция гидравлического экскаватора. Как работает экскаватор.
Гидравлическая схема экскаватора. Поворотный гидравлический узел экскаватора. Электрическая схема одноковшовых экскаваторов. Конструкция гидравлического экскаватора. Как работает экскаватор.
Экскаватор одноковшовый «обратная лопата»эо-3121. Гидравлическая схема экскаватора. Схема гидромолота экскаватора. Устройство экскаватора гидравлического на гусеничном ходу. Экскаватор с гидравлическим приводом.
Экскаватор одноковшовый «обратная лопата»эо-3121. Гидравлическая схема экскаватора. Схема гидромолота экскаватора. Устройство экскаватора гидравлического на гусеничном ходу. Экскаватор с гидравлическим приводом.
Эо 4121 схема. Правильная эксплуатация экскаватора. Экскаватор колесный эо-3323а управление. Эо-3323 экскаватор. Роторно стреловой экскаватор схема.
Эо 4121 схема. Правильная эксплуатация экскаватора. Экскаватор колесный эо-3323а управление. Эо-3323 экскаватор. Роторно стреловой экскаватор схема.
Как работает экскаватор. Гидравлическая схема гусеничного одноковшового экскаватора. Гидравлический экскаватор из шприцов чертёж. Привод рабочего оборудования lk835e. Как работает экскаватор.
Как работает экскаватор. Гидравлическая схема гусеничного одноковшового экскаватора. Гидравлический экскаватор из шприцов чертёж. Привод рабочего оборудования lk835e. Как работает экскаватор.
Комацу 160 гусеничный экскаватор система охлаждения. Полноповоротный гидравлический экскаватор схема. Как работает экскаватор. Основное рабочее оборудование одноковшового экскаватора. Как работает экскаватор.
Комацу 160 гусеничный экскаватор система охлаждения. Полноповоротный гидравлический экскаватор схема. Как работает экскаватор. Основное рабочее оборудование одноковшового экскаватора. Как работает экскаватор.
Рабочее оборудование дворника. Как работает экскаватор. Как работает экскаватор. Как работает экскаватор. Трактор экскаватор.
Рабочее оборудование дворника. Как работает экскаватор. Как работает экскаватор. Как работает экскаватор. Трактор экскаватор.
Кинематическая схема одноковшового экскаватора. Техника безопасности на экскаваторе. Гидроклин на экскаватор. Принципиальная схема экскаватора с гидравлическим приводом. Гидравлическая схема гусеничного одноковшового экскаватора.
Кинематическая схема одноковшового экскаватора. Техника безопасности на экскаваторе. Гидроклин на экскаватор. Принципиальная схема экскаватора с гидравлическим приводом. Гидравлическая схема гусеничного одноковшового экскаватора.
Осторожно экскаватор. Технологическая схема дробления негабарита гидромолотом. Принцип работы ковша экскаватора. Гидравлическая схема гусеничного экскаватора. Рычаг управления гидромолотом на экскаваторе.
Осторожно экскаватор. Технологическая схема дробления негабарита гидромолотом. Принцип работы ковша экскаватора. Гидравлическая схема гусеничного экскаватора. Рычаг управления гидромолотом на экскаваторе.
Схема полноповоротного одноковшовые экскаватора. Ковш экскаватора. Экскаватор ютуб. Принцип работы гидромолота на экскаваторе схема. Схема полноповоротного одноковшовые экскаватора.
Схема полноповоротного одноковшовые экскаватора. Ковш экскаватора. Экскаватор ютуб. Принцип работы гидромолота на экскаваторе схема. Схема полноповоротного одноковшовые экскаватора.
Поворотный механизм экскаватора хендай 210. Экскаватор колесный гидравлика ковша схема. Погрузочное рабочее оборудование гидравлических экскаваторов схема. Экскаватор с гидравлическим приводом. Гидравлическая схема гусеничного экскаватора.
Поворотный механизм экскаватора хендай 210. Экскаватор колесный гидравлика ковша схема. Погрузочное рабочее оборудование гидравлических экскаваторов схема. Экскаватор с гидравлическим приводом. Гидравлическая схема гусеничного экскаватора.
Экскаватор эо-3322. Как работает экскаватор. Как работает экскаватор. Как работает экскаватор. Гидропривод экскаватора схема и принцип действия.
Экскаватор эо-3322. Как работает экскаватор. Как работает экскаватор. Как работает экскаватор. Гидропривод экскаватора схема и принцип действия.
Конструктивные схемы одноковшовых экскаваторов. Как работает экскаватор. Гидравлический привод экскаватора схема. Как работает экскаватор. Схема гидропривода одноковшового экскаватора.
Конструктивные схемы одноковшовых экскаваторов. Как работает экскаватор. Гидравлический привод экскаватора схема. Как работает экскаватор. Схема гидропривода одноковшового экскаватора.
Гидравлический экскаватор с обратной лопатой. Как работает экскаватор. Гидравлическая схема гусеничного одноковшового экскаватора. Экскаватор погр. Одноковшовый экскаватор с оборудование обратная лопата.
Гидравлический экскаватор с обратной лопатой. Как работает экскаватор. Гидравлическая схема гусеничного одноковшового экскаватора. Экскаватор погр. Одноковшовый экскаватор с оборудование обратная лопата.
Экскаватор обратная лопата эо 5122. Экскаватор одноковшовый «обратная лопата»эо-3121. Компоненты гусеничного экскаватора узлы. Конструкция гидравлического экскаватора. Трактор экскаватор.
Экскаватор обратная лопата эо 5122. Экскаватор одноковшовый «обратная лопата»эо-3121. Компоненты гусеничного экскаватора узлы. Конструкция гидравлического экскаватора. Трактор экскаватор.